任天堂提交的更新专利表明,即将推出的Switch 2可以采用AI升级技术。
任天堂专利对于将图像转换为另一个分辨率的计算机系统已发布,表明Switch 2可以采用AI升级技术。计算机系统被描述为配置为显示视频游戏图像的显示设备。
参见:Nintendo Switch 2专利概述Joy-Con鼠标功能
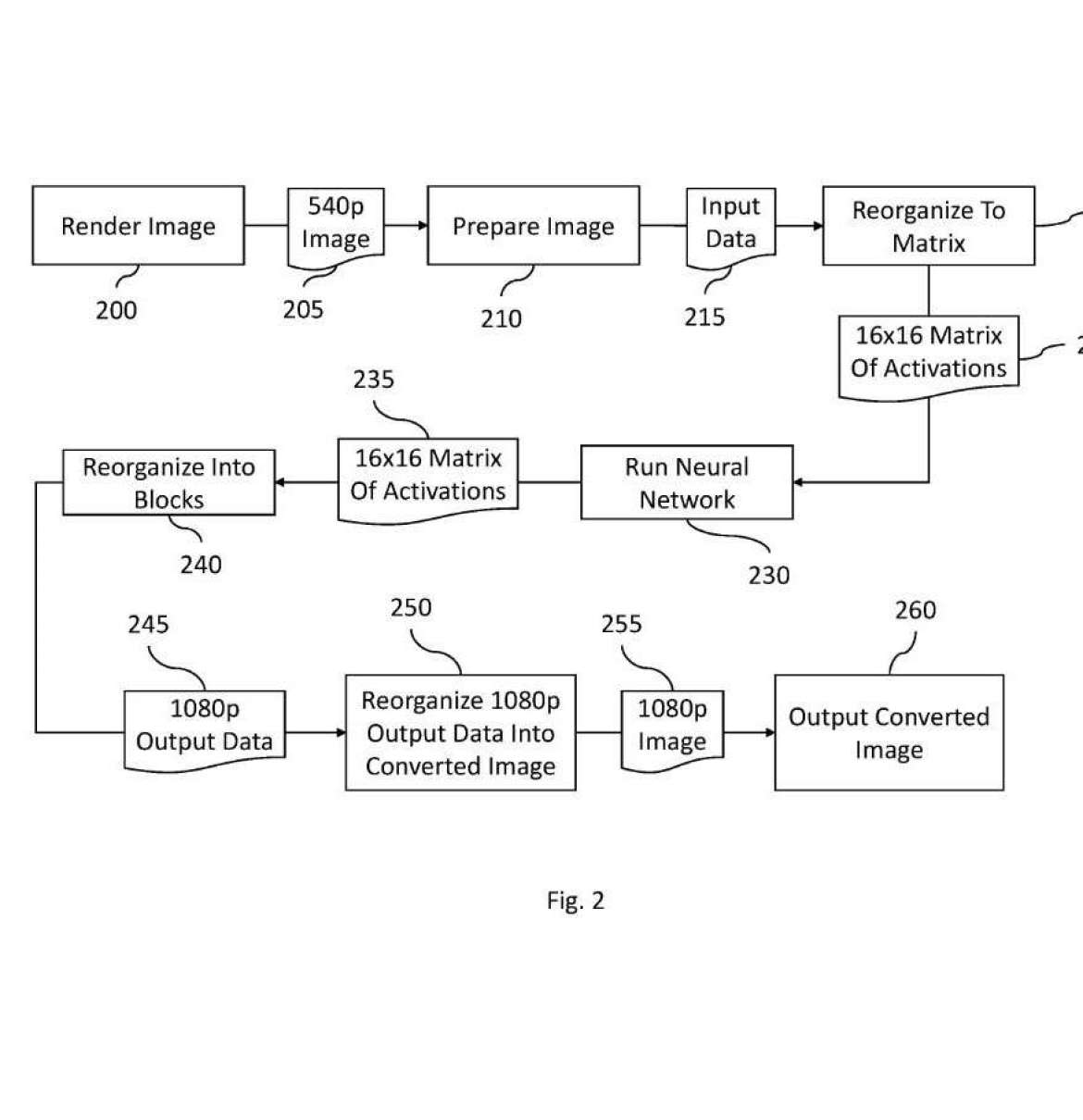
该专利中描述的技术标题为“机器学习的系统和方法”,与使用机器学习将一个数据集或信号转换为另一个数据集或信号有关。更具体地说,所描述的技术与将块变换应用于此类数据集或信号有关。该技术的应用包括将一个分辨率的图像转换为另一种分辨率(例如,更高)分辨率,可以从例如视频游戏引擎生成的图像中用于实时应用中。这种升级技术很可能基于DLSS的版本,因为Switch 2据说由NVIDIA硬件提供动力。

根据专利的说法,执行升级的A处理系统至少包括一个硬件处理器,并配置为:
- 与执行视频游戏有关,生成第一个分辨率的第一个图像;
- 从第一个图像中选择第一个像素的第一个块,然后在第一个像素块周围添加上下文数据以创建第一个上下文块;
- 基于第一个像素的第一个块和构成第一个上下文块的添加上下文数据,生成第一个多个输入通道;
- 从每个第一个多个输入通道中的每个复数插入值中的值;
- 将第一个激活矩阵应用于训练有素的神经网络以生成第二个激活矩阵;
- 生成,基于第二个激活矩阵,第二个图像是第二个分辨率;和
- 输出,对于视频游戏,第二张图像到显示
早在2023年9月,任天堂一直希望聘请数据工程师,以帮助在低功率嵌入式平台上集成机器学习技术,这表明它可能与Switch继任者有关。在这里阅读有关它的信息。
